HomeSample Page

Sample Page Title


Ahead-looking: Toyota is recreating the expertise of driving a automotive with a guide transmission in its EVs full with the feeling of stalling if there is not sufficient throttle. It’s a part of the carmaker’s array of futuristic applied sciences for its electrical autos.

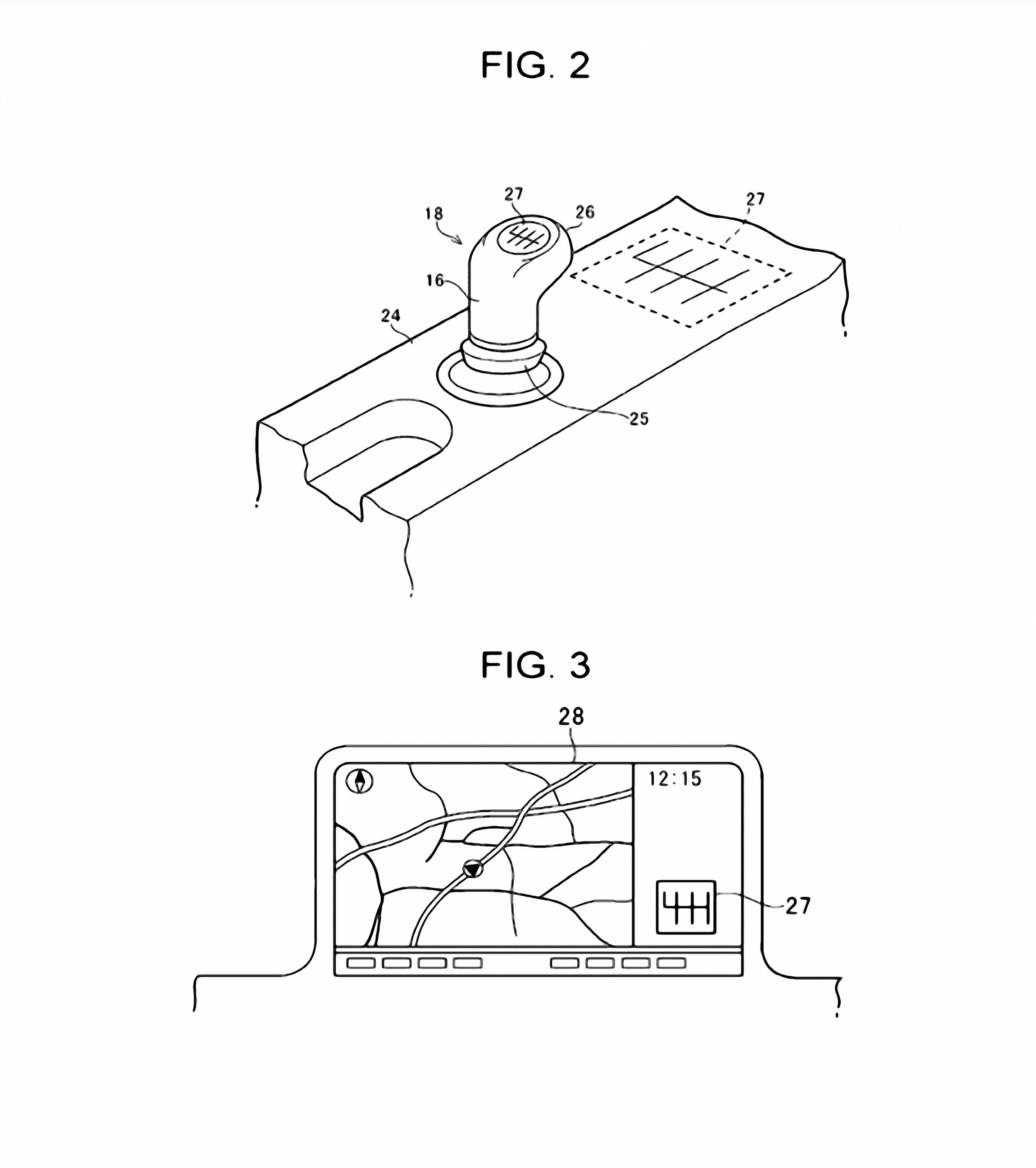
A recently-published patent software from Toyota reveals the main points of the digital guide transmission that the worldwide carmaker is engaged on for a few of its EVs. Primarily, it makes use of a gear stick typical to these in a guide automotive configured for a wide range of shift patterns and torque traits.

Earlier this summer season Toyota introduced a variety of latest futuristic applied sciences for its battery electrical autos that might be outfitted with each drive management and clutch capabilities. This patent seems to be a part of that initiative.

The digital guide transmission detailed within the patent software wouldn’t be restricted to 6 gears, NotebookCheck defined, however as an alternative customers will have the ability to choose from numerous torque patterns to match their driving model. They will even have fourteen speeds to choose, which is not sensible for a guide gasoline burning combustion engine, Motor1 factors out, however can work fantastic when the guide transmission is simply being simulated.

How is Toyota placing all these transferring elements collectively? The patent describes a state of affairs wherein the consumer selects a gear identical to they might with an everyday guide automotive, however as they transfer up by means of the gears, a digital sample presents the subsequent set of ratios, Motor1 explains. So if the sixth gear is chosen, a show will present different obtainable ratios, permitting the motive force to go as much as the seventh or past.

The know-how is being examined in a Lexus UX300e EV.

Toyota introduced the worldwide debut of the brand new UX 300e final 12 months and deliveries started this spring. The luxurious automotive (seen beneath) got here to market with a newly developed battery pack providing a cruising vary that’s greater than 40% longer than that of the earlier mannequin and a battery capability of 72.8kWh.

Joel Stocksdale at Autoblog take a look at drove Toyota’s guide EV prototype and wrote that the expertise “form of broke our brains.” The execution is pretty easy, regardless of the complexity of the guide model, with the shifter and the clutch pedal not linked to anything whereas outfitted with a sensor to detect shifter and clutch pedal positions. The software program operated all the things else, adjusting the torque relying on RPM, car velocity and equipment.

Toyota engineers even managed to recreate the sensation of coming near stalling when you’re not giving sufficient throttle. The engine will even shut off if it would not get sufficient throttle in time, Stocksdale wrote.

Related Articles

LEAVE A REPLY

Please enter your comment!
Please enter your name here

Latest Articles